Запасные части ЧТЗ Запасные части ЧТЗ
Энергодар
Например:
Актобе
Алдан
или
Выбрать автоматически
Актобе
Алдан
Алматы
Алчевск
Архангельск
Астана
Астрахань
Атырау
Баку
Балашиха
Барнаул
Белгород
Бердянск
Бишкек
Владивосток
Владикавказ
Воркута
Воронеж
Горловка
Грозный
Донецк
Екатеринбург
Иваново
Ижевск
Иркутск
Казань
Калининград
Каменск-Уральский
Караганда
Каховка
Кемерово
Киров
Комсомольск-на-Амуре
Костанай
Краснодар
Красноярск
Красный луч
Ленск
Луганск
Магадан
Магнитогорск
Макеевка
Махачкала
Мелитополь
Минск
Мирный (Якутия)
Москва
Мурманск
Нерюнгри
Нижневартовск
Нижний Новгород
Нижний Тагил
Новая каховка
Новокузнецк
Новосибирск
Новый Уренгой
Норильск
Ноябрьск
Нур-Султан
Омск
Оренбург
Ош
Павлодар
Пермь
Петрозаводск
Петропавловск
Петропавловск-Камчатский
Псков
Ростов-на-Дону
Салехард
Самара
Санкт-Петербург
Саратов
Севастополь
Семей
Симферополь
Сочи
Ставрополь
Сургут
Сыктывкар
Тараз
Ташкент
Токмак
Томск
Тында
Тюмень
Ульяновск
Усинск
Усть-Каменогорск
Уфа
Хабаровск
Ханты-Мансийск
Херсон
Челябинск
Чита
Шымкент
Экибастуз
Энергодар
Южно-Сахалинск
Якутск
Ваш город
Энергодар
Войти
Запасные части к тракторам на одном сайте
Отправить заявку


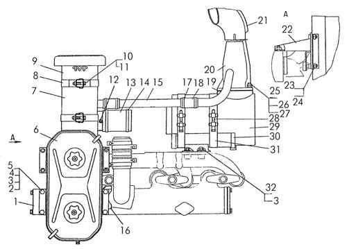
Установка агрегатов систем впуска и выпуска на Т-170


/
с НДС 20%
Описание
Установка агрегатов систем впуска и выпуска Т-170
Поз.НаименованиеАртикулКол-во в сборке
0Установка агрегатов систем впуска и выпуска51-05-27СП1
1Кронштейн51-05-6-011
2Гайка30114
3Шайба3135-18
4Шайба12ОТ65Г098
5БолтМ12Х30.58.0194
6Воздухоочиститель 51-05-215СП1
7Мультициклон 51-05-216СП1
8Хомут51-05-322-01СП2
9Воздухозаборник 51-05-205СП1
10Болт700-28-23812
11Шайба31308-16
12Электрический датчик сигнализатор 65-09-132сп (он же 132.3839600) засоренности воздухоочистителя дизеля1
13Рукав 700-40-34841
14ХомутСБ3319-209-12
15Труба51-05-5941
16Кронштейн51-05-51
17Хомут700-41-2235-16СП4
17Хомут700-41-2235-17СП4
18Рукав 700-40-36861
19Прокладка 700-40-26363
20 Труба выхлопная 51-05-379сп1
20Труба выхлопная51-05-378-01СП1
21Патрубок51-05-143-01СП1
22Кронштейн51-05-106СП1
23ГайкаМ12Х6.0194
24Шайба12ОТ65Г098
25ГайкаМ10Х6.01912
26Шайба31308-16
27Шпилька2М103p/6qХ35.66.0836
28Болт стяжной 51-05-116СП2
29Глушитель 51-05-192СП1
30Кронштейн 51-05-247СП1
31Хомут51-05-295СП2
32БолтМ12Х25.58.0194
Установка агрегатов систем впуска и выпуска