Запасные части ЧТЗ Запасные части ЧТЗ
Энергодар
Например:
Актобе
Алдан
или
Выбрать автоматически
Актобе
Алдан
Алматы
Алчевск
Архангельск
Астана
Астрахань
Атырау
Баку
Балашиха
Барнаул
Белгород
Бердянск
Бишкек
Владивосток
Владикавказ
Воркута
Воронеж
Горловка
Грозный
Донецк
Екатеринбург
Иваново
Ижевск
Иркутск
Казань
Калининград
Каменск-Уральский
Караганда
Каховка
Кемерово
Киров
Комсомольск-на-Амуре
Костанай
Краснодар
Красноярск
Красный луч
Ленск
Луганск
Магадан
Магнитогорск
Макеевка
Махачкала
Мелитополь
Минск
Мирный (Якутия)
Москва
Мурманск
Нерюнгри
Нижневартовск
Нижний Новгород
Нижний Тагил
Новая каховка
Новокузнецк
Новосибирск
Новый Уренгой
Норильск
Ноябрьск
Нур-Султан
Омск
Оренбург
Ош
Павлодар
Пермь
Петрозаводск
Петропавловск
Петропавловск-Камчатский
Псков
Ростов-на-Дону
Салехард
Самара
Санкт-Петербург
Саратов
Севастополь
Семей
Симферополь
Сочи
Ставрополь
Сургут
Сыктывкар
Тараз
Ташкент
Токмак
Томск
Тында
Тюмень
Ульяновск
Усинск
Усть-Каменогорск
Уфа
Хабаровск
Ханты-Мансийск
Херсон
Челябинск
Чита
Шымкент
Экибастуз
Энергодар
Южно-Сахалинск
Якутск
Ваш город
Энергодар
Войти
Запасные части к тракторам на одном сайте
Отправить заявку


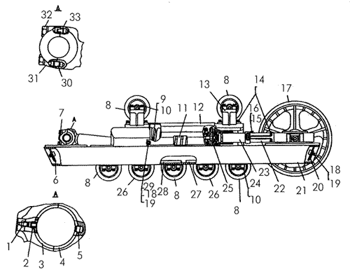
Тележки гусениц 5-ти катковые на Т-170


/
с НДС 20%
Описание
Тележки гусениц 5-ти катковые трактора Т-170
Поз.НаименованиеАртикулКол-во в сборке
0Кронштейн 50-21-2102
1Масленка 1.3.Ц61
3Вкладыш 50-21-2732
5Болт 700-28-2527-0128
6Крышка50-21-2532
8Каток однобортный 24-21-169СП6
9БолтМ20Х50.88.35.01912
10 Шайба 20 ОТ 65Г 09
11Механизм сдавания 20-21-132СП1
12 Щиток 50-21-128
13Кронштейн 20-21-642
14Болт 282348
15 Стопор 60-21-8
16 Шайба16 ОТ 65Г 09
17Колесо натяжное 24-21-146СП1
18 Шайба12 ОТ 65Г 09
19БолтМ12Х25.58.0198
20Крышка50-21-2541
21 Рама тележки правая Т-170.00 и Т-170.01 24-21-164СП
22Вилка 50-21-631
23Механизм натяжения 50-21-134СП1
24Проставка 20-21-135СП1
25 Фланец 24-21-150СП
26Каток двубортный 24-21-170СП3
27Планка 50-21-1624
28Планка 50-21-1632
29 Шайба 31372
30Штифт322024
31Крышка пяты 50-21-1151
32Болт 700-28-22964
33Штифт700-32-21521
Тележки гусениц 5-ти катковые